Suche: Abdeckung Brems-Vorspannzylinder
- igor
-
Autor
- Benutzer
-
- Beiträge: 95
- Thanks: 21
Suche: Abdeckung Brems-Vorspannzylinder
16 Aug. 2018 08:24
Hallo,
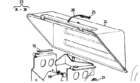
bin auf der Suche nach der Kunststoffhaube welche die Abdeckung über den Brems-Vorspannzylindern ist.
Sitzt direkt hinter dem Batteriekasten.
Hat jemand solch eine Haube/Abdeckung rumliegen und kann mir diese verkaufen?
Danke
lg
Martin
bin auf der Suche nach der Kunststoffhaube welche die Abdeckung über den Brems-Vorspannzylindern ist.
Sitzt direkt hinter dem Batteriekasten.
Hat jemand solch eine Haube/Abdeckung rumliegen und kann mir diese verkaufen?
Danke
lg
Martin
Bitte Anmelden oder Registrieren um der Konversation beizutreten.
- igor
-
Autor
- Benutzer
-
- Beiträge: 95
- Thanks: 21
Re: Suche: Abdeckung Brems-Vorspannzylinder
16 Aug. 2018 09:00
ergänzend noch das ELDOS Bild dazu
Bitte Anmelden oder Registrieren um der Konversation beizutreten.
Ladezeit der Seite: 0.555 Sekunden